반응형
Notice
Recent Posts
Recent Comments
| 일 | 월 | 화 | 수 | 목 | 금 | 토 |
|---|---|---|---|---|---|---|
| 1 | 2 | 3 | ||||
| 4 | 5 | 6 | 7 | 8 | 9 | 10 |
| 11 | 12 | 13 | 14 | 15 | 16 | 17 |
| 18 | 19 | 20 | 21 | 22 | 23 | 24 |
| 25 | 26 | 27 | 28 | 29 | 30 | 31 |
Tags
- 강남구 소비자저널
- 피아노
- 강남 소비자저널
- 용인소비자저널
- 창업경영포럼
- 블록체인
- 고양특례시
- 강남노무법인
- kn541
- 클래식
- 안양시
- 고양시
- 최규태기자
- 소비자저널협동조합
- 안양시장
- 용인소비자저널 #최규태기자
- 케이클래식
- 강남구
- 소협
- 창경포럼
- 전우와함께
- 정봉수 칼럼
- 탁계석
- 정봉수 노무사
- 안양시청
- 안양
- 음악
- 최규태
- 정봉수 박사
- 김포시
Archives
- Today
- Total
<공식> 창업경영포럼 ESM소비자평가단 대상 소비자저널 보도자료
[단독 취재 / 최초보도] ② 기자회견 오프닝 스테이트먼트 (기조 발언) 본문
반응형
[강남 소비자저널=김은정 대표기자]
[L 개발자 오프닝 발언]
여러분, 바쁘신 와중에도 참석해 주셔서 감사합니다.
오늘 저는 20년 넘게 말하지 못했던 이야기의 첫 페이지를 열기 위해 이 자리에 섰습니다.
1999년, 저는 새로운 디지털 신뢰 시스템을 개발하고 있었고
그 기술은 2000년에 특허로 출원되었습니다.
당시에는 ‘셀 기반 검증 시스템’이라 불렀지만,
지금 보면 블록체인의 근본 원리와 놀라운 부분이 겹칩니다.
하지만 체포 하루 전, 저는 글로벌 컨설팅사와
150억 원 규모의 투자를 논의하고 있었습니다.
다음 날 국정원 조사실에서 제 기술은 봉인되었고
저는 세상에서 사라진 개발자가 되었습니다.
오늘 이 자리에서 저는
그동안 숨겨져 있었던 기록들을 조금씩 공개하기 시작합니다.
기술은 숨겨질 수 있어도, 진실은 언젠가 돌아옵니다.
앞으로 이 이야기는
책, 영화, 시리즈, 그리고 아카이브를 통해
모두에게 투명하게 공개될 것입니다.
감사합니다.

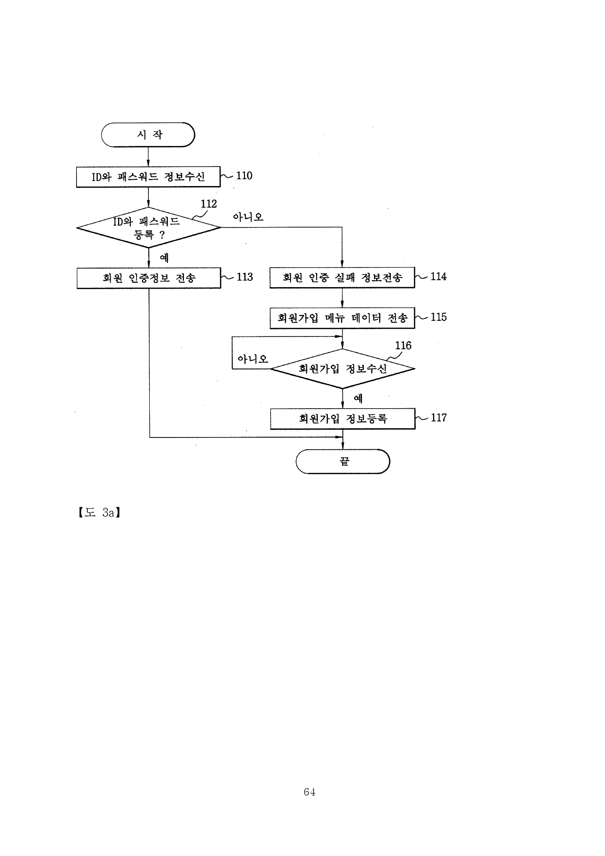
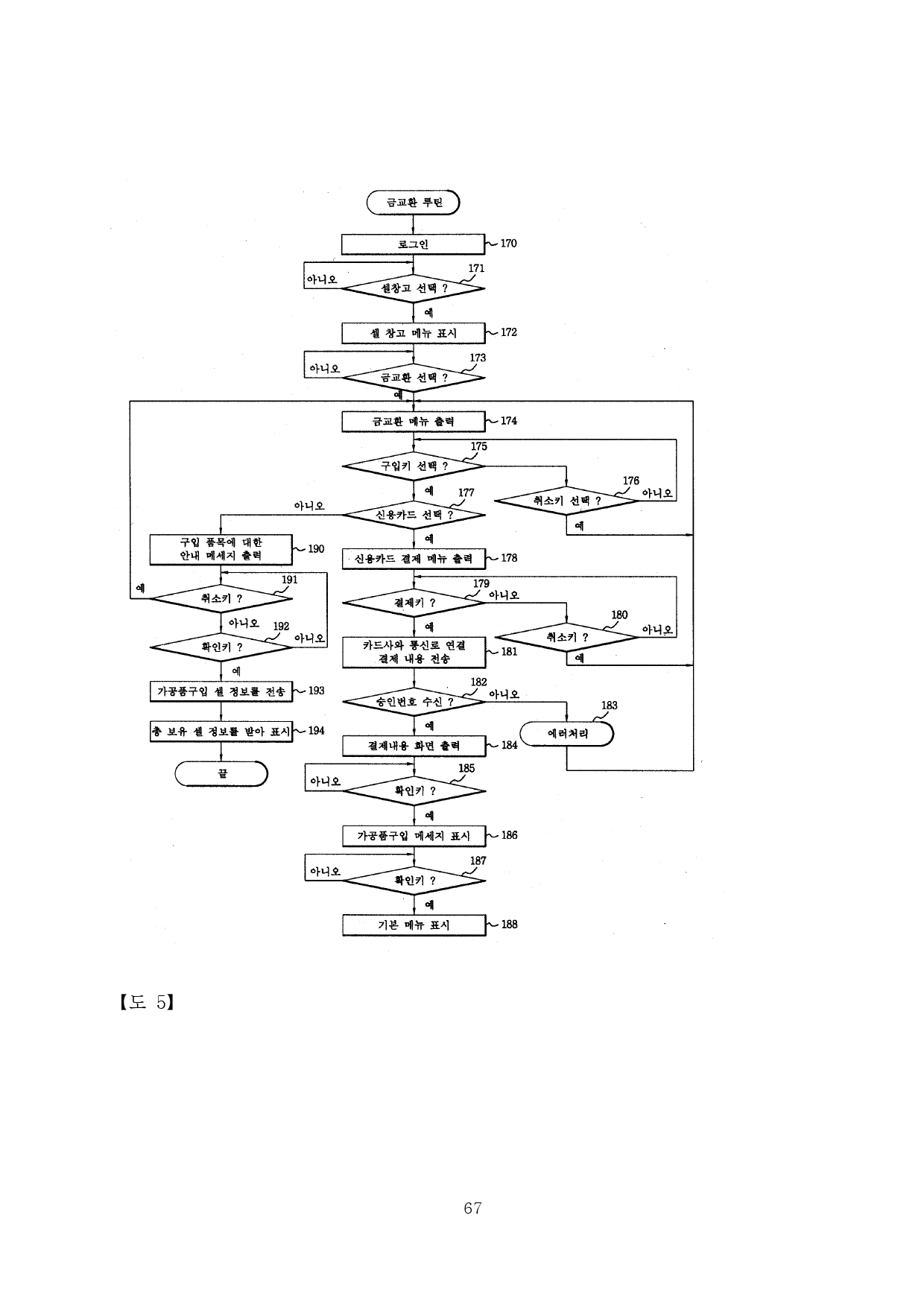
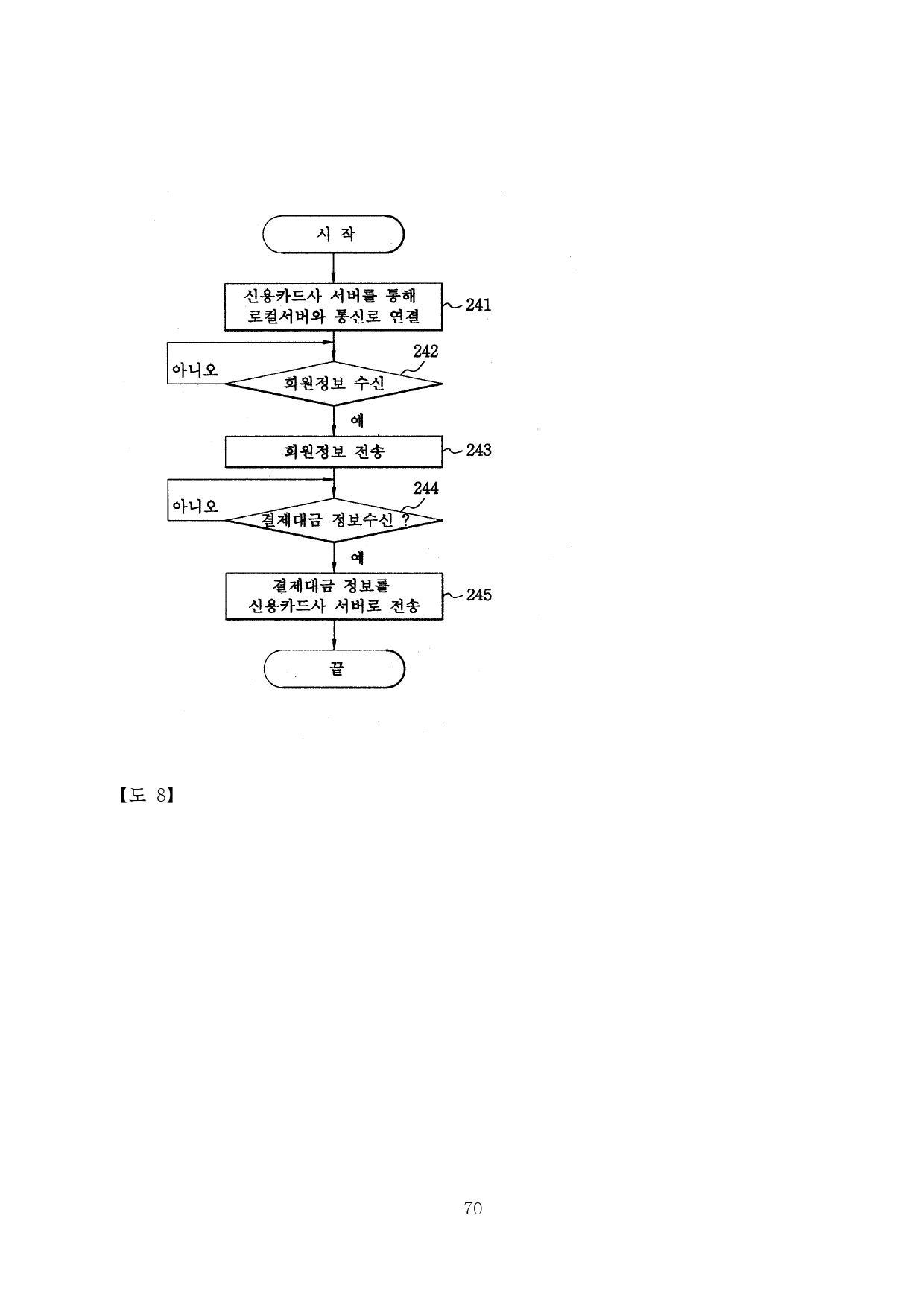
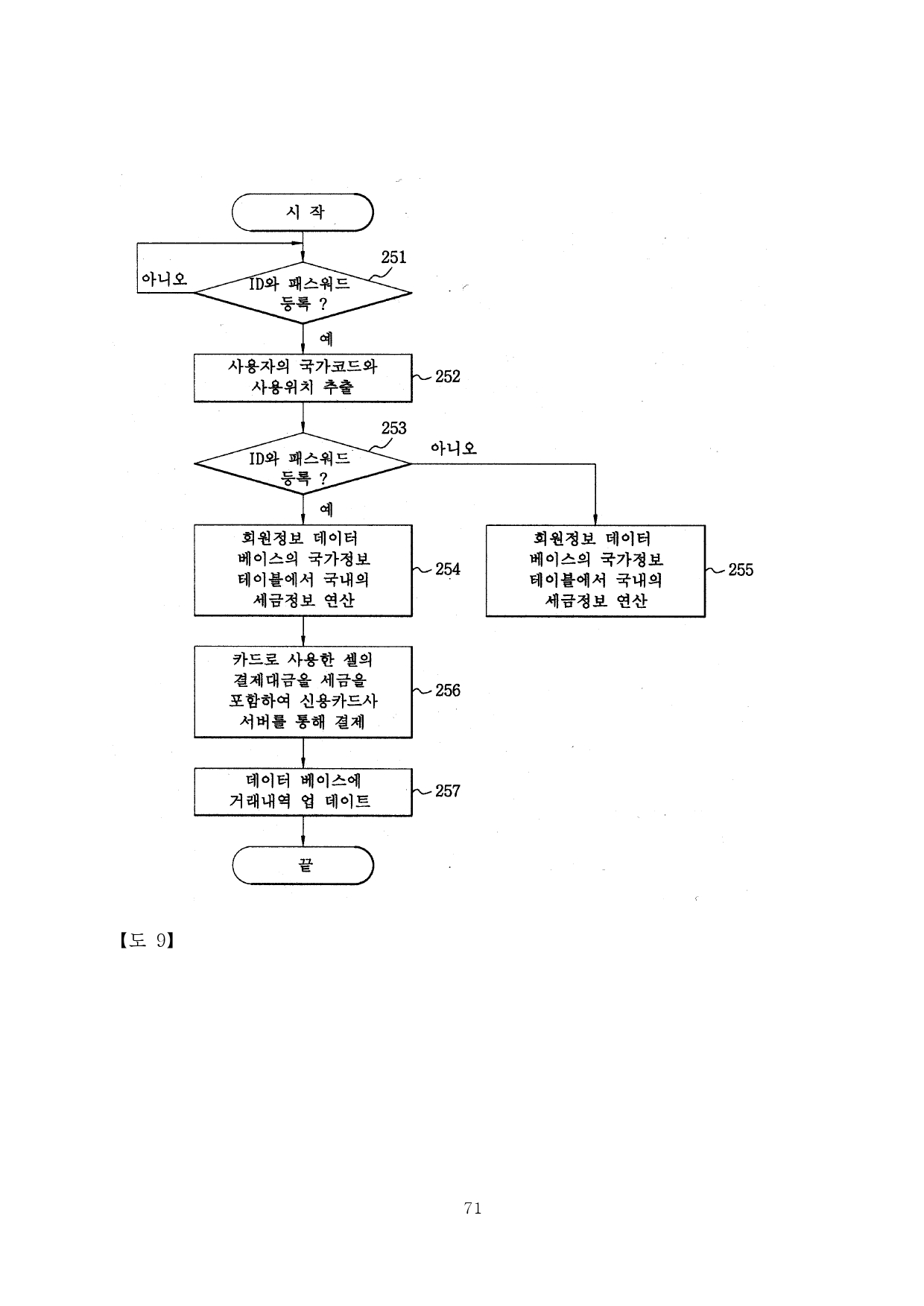
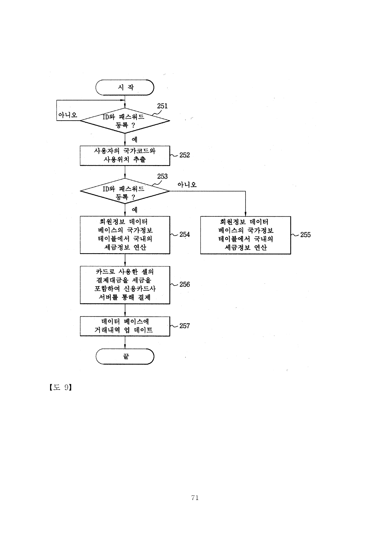
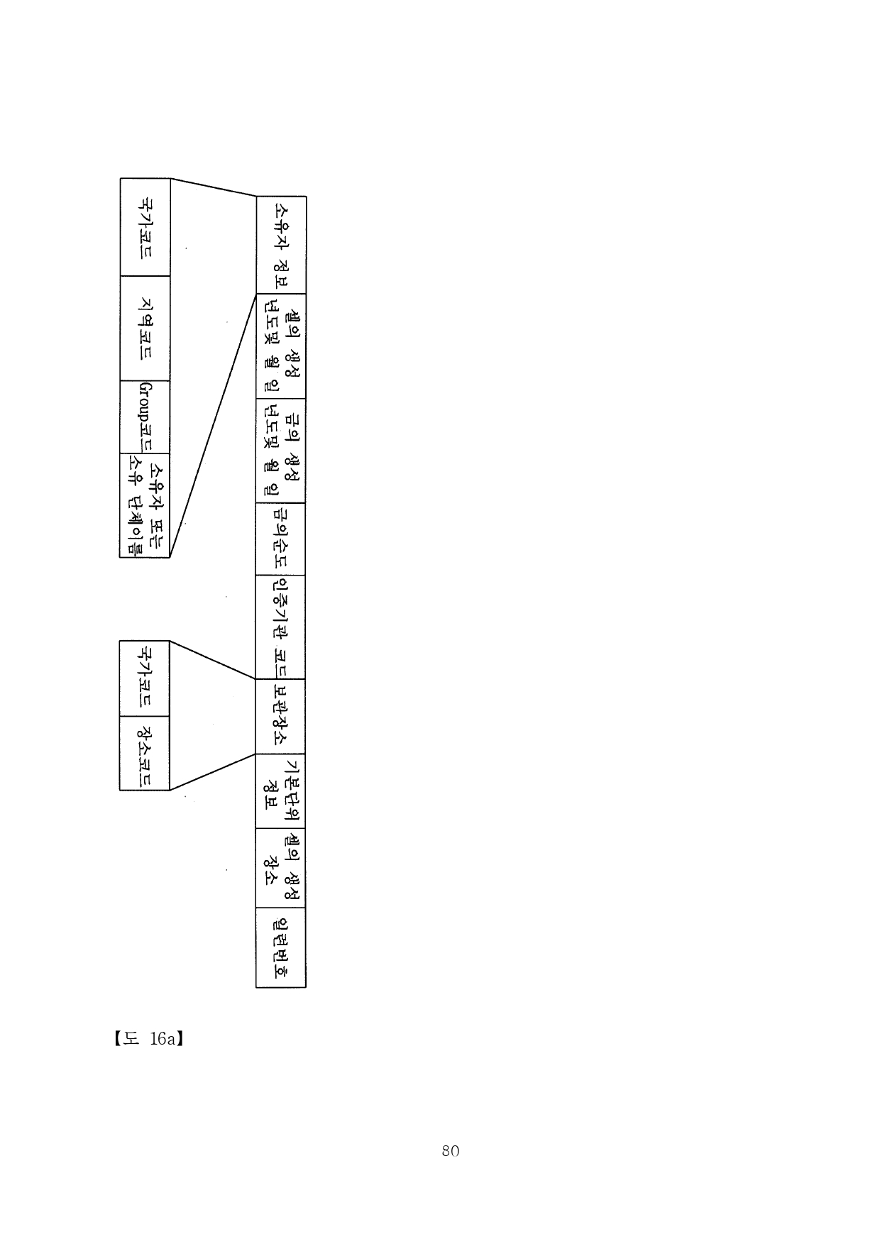
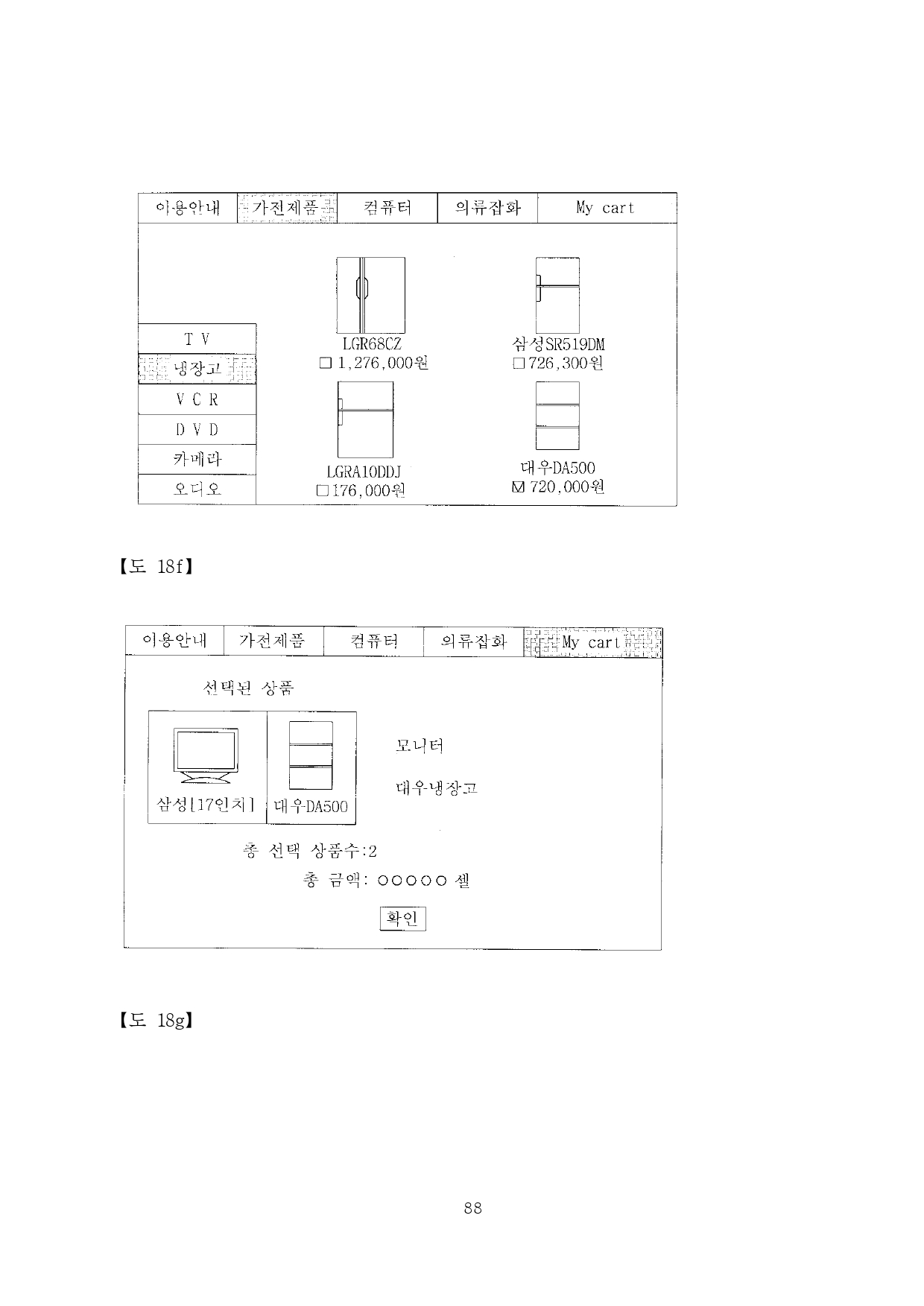
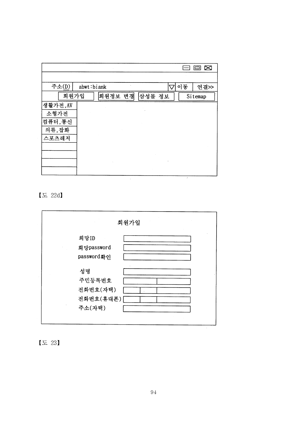
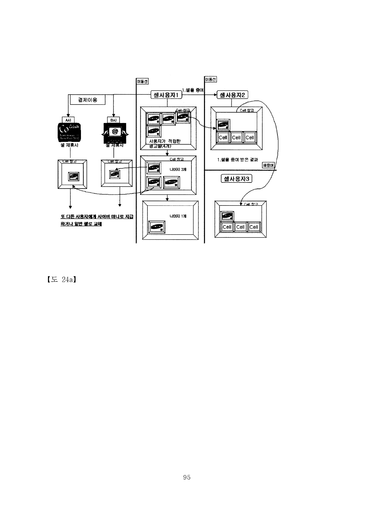
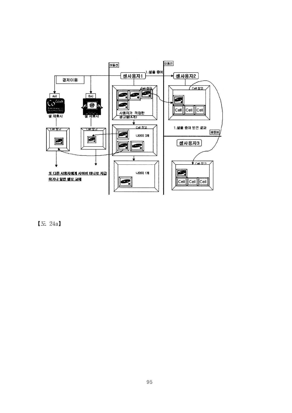
[▼사진=97쪽에 달하는 특허 전문/세계 최초 공개]

































































































※자료제공 : 전설적 L 개발자
반응형
'보도자료 및 언론 소비자평가 기본정보 > 강남 소비자저널' 카테고리의 다른 글
| [단독 취재 / 최초 보도] L Developer 공식 선언문 (Official Declaration) 발표해 (0) | 2025.12.15 |
|---|---|
| [단독 취재 / 최초 보도] ③ 『The First Chain』 저자, "L 개발자" 단독 인터뷰 (1) | 2025.12.15 |
| [단독 취재 / 최초 보도] 20년 간 그림자 속에 존재했던 인물… ‘L 개발자’ 드디어 입을 열다 (0) | 2025.12.15 |
| 예명대학원대학교 사회복지학박사, ‘송년의 밤’ 통해 사회복지 비전 공유 (0) | 2025.12.14 |
| 슬픔이 언어가 되는 자리, 손영미 시집 『자클린의 눈물』을 읽다 (0) | 2025.12.14 |
